Каталог товаров

Электрический воздухонагреватель для круглых каналов серии ЭНК

- Большой диапазон мощностей – от 0,5 до 24 кВт
- Нагревательные элементы из нержавеющей стали
- Встроенные биметаллические термовыключатели
- Оцинкованный стальной корпус  
- ТЭНы повышенной надежности
- Температура эксплуатации -40...+40 °С
- Класс защиты корпуса нагревателя IP 21
СДЕЛАНО В РОВЕН
Описание товара
Характеристики моделей
Купить
Руководства

Электрические канальные воздухонагреватели (электрокалориферы) представляют собой корпус, в котором расположены трубчатые электронагреватели (ТЭН). Они создают электрическое сопротивление, которое  преобразует энергию в тепло. Преимущества электрических воздухонагревателей состоят в следующем: они имеют небольшой перепад давления и они недороги в установке. 

Особенности:  

  • Большой диапазон мощностей – от 0,5 до 24 кВт
  • Нагревательные элементы из нержавеющей стали
  • Возможность регулировки температуры с помощью дополнительных коммутационных приборов (приобретаются самостоятельно)
  • Встроенные биметаллические термовыключатели
  • Оцинкованный стальной корпус  
  • ТЭНы повышенной надежности
  • Климатическое исполнение У3 (+40...-45)
  • Класс защиты корпуса нагревателя IP 21


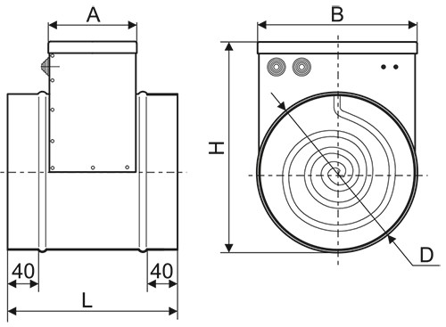
Габаритные и присоединительные размеры (мм)

enk-chertezh.jpg

Модель

А*

A**

В

D

Н

L*

L**

ЭНК 100***

275

503

100

100

190

375

650

ЭНК 125

275

-

125

125

215

375

-

ЭНК 160

275

-

160

160

270

375

-

ЭНК 200

275

-

200

200

290

375

-

ЭНК 250

275

-

250

250

345

375

-

ЭНК 315***

275

503

315

315

410

375

650

ЭНК 355

275

503

355

355

455

375

650

ЭНК 400

275

503

400

400

500

375

650

* Для нагревателей мощностью до 12 кВт включительно.
** Для нагревателей с мощностью свыше 12 кВт.
*** Для моделей нагревателей ЭНК 100/3,0 и ЭНК 315/12,0 - размеры A и L следующие: A=503 мм, L=650 мм.

Технические характеристики круглых электрических нагревателей серии ЭНК

Модель электронагревателя

D, мм

Мощность,

кВт

Напряжение/

частота, В/50Гц

Ток,

А

Минимальный расход воздуха, м³/ч

Схема

подключения

Масса, кг

ЭНК 100/0,5

100

0,5

220

2,27

50

ЭНК-1

1,6

ЭНК 100/1,0

1,0

4,55

ЭНК-1

1,7

ЭНК 100/1,5

1,5

6,82

ЭНК-1

1,7

ЭНК 100/2,0

2,0

9,09

ЭНК-1

1,7

ЭНК 100/3,0

3,0

13,64

ЭНК-1

1,8

ЭНК 125/1,0

125

1,0

220

4,55

90

ЭНК-1

1,8

ЭНК 125/1,5

1,5

6,82

ЭНК-1

2,0

ЭНК 125/2,0

2,0

9,09

ЭНК-1

2,0

ЭНК 125/3,0

3,0

13,64

ЭНК-1

2,0

ЭНК 160/1,5

160

1,5

220

6,82

150

ЭНК-1

2,3

ЭНК 160/2,0

2,0

9,09

ЭНК-1

2,5

ЭНК 160/3,0

3,0

13,64

ЭНК-1

2,7

ЭНК 160/4,5

4,5

380

6,84

ЭНК-2

2,7

ЭНК 200/1,5

200

1,5

220

6,82

230

ЭНК-1

2,7

ЭНК 200/2,0

2,0

9,09

ЭНК-1

2,7

ЭНК 200/3,0

3,0

13,64

ЭНК-1

2,9

ЭНК 200/4,5

4,5

380

6,84

ЭНК-2

3,2

ЭНК 200/6,0

6,0

9,12

ЭНК-2

3,2

ЭНК 250/3,0

250

3,0

220

13,64

350

ЭНК-1

3,9

ЭНК 250/4,5

4,5

380

6,84

ЭНК-2

3,7

ЭНК 250/6,0

6,0

9,12

ЭНК-2

3,9

ЭНК 250/7,5

7,5

11,4

ЭНК-2

4,1

ЭНК 250/9,0

9,0

13,67

ЭНК-2

4,3

ЭНК 315/3,0

315

3,0

220

13,0

560

ЭНК-1

3,3

ЭНК 315/4,5

4,5

380

6,84

ЭНК-2

4,2

ЭНК 315/6,0

6,0

9,12

ЭНК-2

5,1

ЭНК 315/7,5

7,5

11,4

ЭНК-2

5,1

ЭНК 315/9,0

9,0

13,67

ЭНК-2

5,1

ЭНК 315/12,0

12,0

18,23

ЭНК-2

8,0

ЭНК 315/15,0

15,0

22,79

ЭНК-2

8,0

ЭНК 315/18,0

18,0

27,35

ЭНК-2

8,0

ЭНК 355/6,0

355

6,0

380

9,12

740

ЭНК-2

5,4

ЭНК 355/9,0

9,0

13,67

ЭНК-2

5,4

ЭНК 355/12,0

12,0

18,23

ЭНК-2

5,4

ЭНК 355/18,0

18,0

27,35

ЭНК-2

9,4

ЭНК 355/24,0

24,0

36,46

ЭНК-2

9,5

ЭНК 400/9,0

400

9,0

380

13,67

900

ЭНК-2

6,0

ЭНК 400/12,0

12,0

18,23

ЭНК-2

6,0

ЭНК 400/18,0

18,0

 27,35

ЭНК-2

10,3

ЭНК 400/24,0

24,0

36,46

ЭНК-2

11,9

Схемы подключения круглых электрических нагревателей серии ЭНК

Данные схемы подключения являются примером обязательного использования биметаллических термо-выключателей защиты нагревателя от перегрева t1, t2 в цепях управления силовой частью ЭНК. Категорически запрещается подключать электронагреватель без использования в его цепи управления силовой частью биметаллических термовыключателей защиты от перегрева t1, t2, в противном случае это может привести к пожару или несчастному случаю.

ЭНК элсхемы.jpg

Схема А.jpg

МАРКИРОВКА:

Нагреватель электрический круглый ЭНК 400/9,0 
                где:    ЭНК – серия канального нагревателя;
                          400 – типоразмер (по диаметру присоединения), мм;
                          9,0 – мощность нагревателя, кВт.

Ниже представлены характеристики моделей электронагревателей с характеристиками распродажи

Габаритные и присоединительные размеры (мм) ЭНК (с характеристиками распродажи)

enk-chertezh.jpg

Модель электронагревателя

А

В

D

Н

L

Электронагреватель ЭНК 100/1,0 кВт 380В

275

100

100

190

375

Электронагреватель ЭНК 100/2,0 кВт 380В

275

100

100

190

375

Электронагреватель ЭНК 160/0,6 кВт 220В

275

160

160

270

375

Электронагреватель ЭНК 160/1,2 кВт 220В

275

160

160

270

375

Электронагреватель ЭНК 160/1,8 кВт 220В

275

160

160

270

375

Электронагреватель ЭНК 160/2,4 кВт 220В

275

160

160

270

375

Электронагреватель ЭНК 250/2,5 кВт 380В

275

250

250

345

375

Электронагреватель ЭНК 250/7,5 кВт 380В

275

250

250

345

375

Электронагреватель ЭНК 315/3,0 кВт 380В

275

315

315

410

375

Электронагреватель ЭНК 315/9,0 кВт 380В

275

315

315

410

375

Электронагреватель ЭНК 315/18,0 кВт 380В

503

315

315

410

650

Технические характеристики круглых электрических нагревателей серии ЭНК (с характеристиками распродажи)

Модель электронагревателя

D, мм

Мощность,

кВт

Напряжение/

частота, В/50Гц

Ток,

А

Минимальный расход воздуха, м³/ч

Схема

подключения

Масса, кг

Электронагреватель ЭНК 100/1,0 кВт 380В

100

1,0

380

2,7

50

ЭНК-3

1,6

Электронагреватель ЭНК 100/2,0 кВт 380В

2,0

5,3

ЭНК-4

1,7

Электронагреватель ЭНК 160/0,6 кВт 220В

160

0,6

220

2,8

150

ЭНК-1

2,3

Электронагреватель ЭНК 160/1,2 кВт 220В

1,2

5,5

2,3

Электронагреватель ЭНК 160/1,8 кВт 220В

1,8

8,2

2,5

Электронагреватель ЭНК 160/2,4 кВт 220В

2,4

11

2,5

Электронагреватель ЭНК 250/2,5 кВт 380В

250

2,5

380

6,6

350

ЭНК-3

3,9

Электронагреватель ЭНК 250/7,5 кВт 380В

7,5

19,8

ЭНК-2

4,1

Электронагреватель ЭНК 315/3,0 кВт 380В

315

3,0

380

7,9

560

ЭНК-3

4,2

Электронагреватель ЭНК 315/9,0 кВт 380В

9,0

23,7

ЭНК-2

5,1

Электронагреватель ЭНК 315/18,0 кВт 380В

9,0+9,0

23,7+23,7

ЭНК-2

8,0

Схемы подключения круглых электрических нагревателей серии ЭНК (с характеристиками распродажи)

Данные схемы подключения являются примером обязательного использования биметаллических термо-выключателей защиты нагревателя от перегрева t1, t2 в цепях управления силовой частью ЭНК. Категорически запрещается подключать электронагреватель без использования в его цепи управления силовой частью биметаллических термовыключателей защиты от перегрева t1, t2, в противном случае это может привести к пожару или несчастному случаю.

ЭНК спец элсхемы.jpg

Схема А.jpg

 


Не представленные в наличии модели доступны к поставке под заказ

Наименование
Единица измерения
Масса, кг
Стоимость
шт
1.66
5 034 ₽
шт
3.68
4 327 ₽
Руководство по эксплуатации ЭНК.pdf

Всю необходимую информацию также можно получить по телефону «горячей линии»

+ 7 800 200 93 96

или по телефону

+7 800 505 08 67 получить консультацию